

技術領域
本實用新型涉及晶圓加工專用機,更詳而言的是指一種對晶圓進 行噴砂穿孔作業,以在晶圓預定位置上形成貫穿孔的晶圓噴砂機。
背景技術
一般所指的晶片,即是由一晶圓所切割而感。有些特定的晶圓, 必須在晶片上形成一貫穿孔方能加以使用(如印表機墨水匣用的晶 片),而一般在晶片上加工貫穿孔的方法,則是在晶圓未切割前,先 利用一噴砂機對晶圓作加工噴砂的動作,以在各晶片上成形出該貫穿 孔。然后在進行晶圓大量形成貫穿孔的作業前,必須先將晶圓置設在 噴砂機的治具上(利用影像數字系統將晶圓上的定位點(MARK)與預設 的路徑對準),再以噴砂方式對該晶圓噴出第一個貫穿孔,而在晶圓 形成出第一個貫穿孔后,則必須將晶圓自該治具上移出,移至另一校 正儀器上,并由CCD放大檢測此一貫穿孔的位置是否位于晶片的正確 位置上,當有誤差時,則須校正噴砂機治具的位置,再將晶圓重新置 入,并進行第二個貫穿孔的噴砂作業,然后再將已進行第二次貫穿孔 噴砂作業的晶圓再度移至校正儀器上,再重新以CCD作放大的檢測, 如仍有誤差時則再度重復上述的動作(校正儀器CCD的檢測與后續噴砂 機第三、四…個貫穿孔的噴砂作業)直至貫穿孔與晶片的相對位置正 確為止,而當貫穿孔的位置正確后,便可由噴砂機以連續的方式對各 個晶圓上的晶片作噴砂的作業,以在各晶圓上噴出該貫穿孔。
但此種在晶圓上噴出貫穿孔的方式,必須由初期幾個貫穿孔的測 試比對來調整容置晶圓的治具位置,而需將晶圓在噴砂機與校正儀器 間作往復的置換與調整,不僅耗費人力也將浪費許多作業時間,且每 一晶圓皆會因初期貫穿孔位置的檢測,而損失若干數量的晶圓,不僅 浪費晶片也使噴砂作業的良率無法提升。
實用新型內容
本實用新型的主要目的在于提供一種晶圓噴砂機,能夠在同一機 器上進行晶圓位置檢測與噴砂作業,方便操作,并減少操作時間。
本實用新型的另一目的在于提供一種晶圓噴砂機,能提高于晶圓 正確位置上形成貫穿孔的優良率。
因此,為達成上述的目的,本實用新型所提供一種晶圓噴砂機, 包含有:
—機臺;
一容置裝置,設于該機臺上,具有一治具及一治具調整軸,該治 具用以供一晶圓放置,并可受該治具調整軸的連動而改變其位置;
一影像感測裝置,設于該機臺上,具有一影像感測器及一影像調 整軸,該影像感測器用以檢測晶圓的位置,并可受該影像調整軸的連 動而作上、下的位移;
一噴砂裝置,設于該機臺上,具有一噴嘴及一噴嘴調整軸,該噴 嘴可以高壓輸出特定的物質,并可受該噴嘴調整軸的連動而作上、下 的位移;
一運算處理器,與該治具調整軸、影像調整軸及該噴嘴調整軸電 性連接,使可由該運算處理器來對該治具調整軸、影像調整軸及該噴 嘴調整軸作預定位置的控制。
所述的晶圓噴砂機,其中更包含有一護罩,該護罩是設置于該機 臺上,且是罩于該容置裝置、影像感測裝置及該噴砂裝置之外。
所述的晶圓噴砂機,其中影像感測器為一CCD結構。
所述的晶圓噴砂機,其中該影像調整軸是置設于該治具的一側, 該噴嘴調整軸則是位在該治具的另一側。
所述的晶圓噴砂機,其中該影像調整軸是由一模組化滑臺、一光 學尺及一伺服馬達所組成,該影像感測器是設置于該模組化滑臺上, 并利用與該伺服馬達的連接,而可受該伺服馬達的驅動而于該模組化 滑臺中作上、下的滑移,并由該光學尺對該影像感測器作位移位置的 確認。
所述的晶圓噴砂機,其中該噴嘴調整軸是由一模組化滑臺、一光 學尺及一伺服馬達所組成,該噴嘴是設置于該模組化滑臺上,并利用 與該伺服馬達的連接及驅動,而使該噴嘴可于該模組化中作上,下的 位移,并由該光學尺對該噴嘴作位移位置的確認。
所述的晶圓噴砂機,其中該顯示裝置,更具有一顯示幕,該顯示 幕設置于該機臺的外部,并與該運算處理器電性連接,而可用以顯現 運算處理器中的運算數值。
因此,本實用新型的晶圓噴砂機不僅可免去將晶圓于二種機臺上 互換的動作程序,亦可使噴砂作業的正確性大幅增加,以減低因有噴 砂位置錯誤而浪費晶圓的情形發生,亦能減低校正晶圓位置所需的時 間,以利作業流程的順利進行。
附圖說明
圖1是本實用新型一較佳實施例的正面局部剖視圖;
圖2是圖1所示實施例的側面局部剖視圖;
圖3是圖1所示實施例于影像感測裝置對晶圓位置作檢測示意圖;
圖4是圖1所示實施例于噴嘴裝置對晶圓作噴砂作置的示意圖。
具體實施方式
為使貴審查委員,能對本實用新型的特征及目的有深刻的了解與 認同,茲列舉以下較佳的實施例,并配合圖式說明于后:
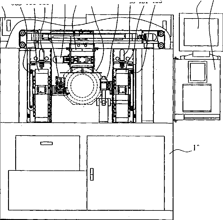
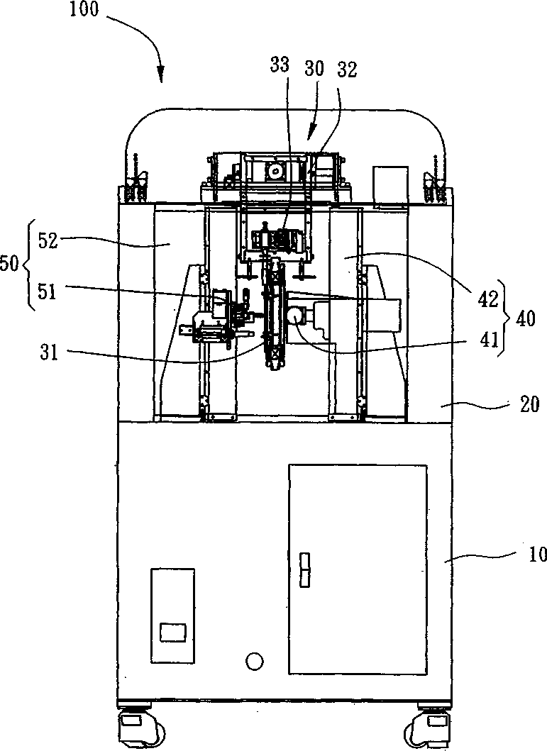
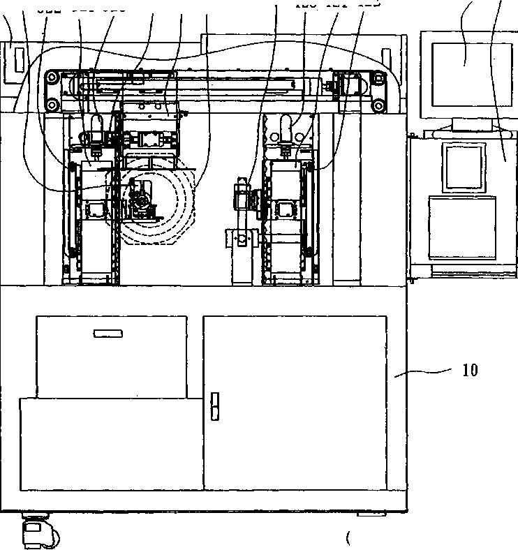
請參閱圖1至圖4所示,是本實用新型所提供第一較佳實施例的晶 圓噴砂機100,其主要包含有一機臺10、一護罩20、一容置裝置30、 一影像感測裝置40、一噴砂裝置50及一顯示裝置60,其中:
該機臺10,為該噴砂機的主要架構,是可穩固置設于一平面上。
該護罩20,是罩設于該機臺10±,而可使該護罩20內形成一封閉 的容置空間,以避免外物(如灰塵)的進入或內物如細砂的流出,當 然該護罩20仍具有可供開啟或關閉的閘門(圖中未示),以利機械的 修護或晶圓的置放與拿取。該容置裝置30,是設置于該機臺10±,而 位于該護罩20的容置空間內,該容置裝置30具有一治具31及一治具調 整軸32,該治具31是供一晶圓(圖中未示放置),該治具調整軸32是 設置于該機臺10±,并藉由一伺服馬達33與該治具31連接,使該治具 31沿該治具調整軸32作平移,或藉由該伺服馬達33的驅動,而于該治 具調整軸32上作旋轉的調整位移。
該影像感測裝置40,是設置于該機臺10±,而位于該護罩20的容 置空間內,該影像感測裝置40具有一影像感測器41及一影像調整軸 42,該影像感測器41為一CCD (CCD為習知結構,其細詳構造在此便不 多作介紹),該影像調整軸42是置設于該容置裝置30的治具31后側, 是由一模組化滑臺421、一光學尺422及一伺服馬達423所組成,該影 像感測器41是設置于該模組化滑臺421±,并利用與該伺服馬達423的 連接,而可受該伺服馬達423的驅動而于該模組化滑臺421中作上、下 的滑移,并由該光學尺422對該影像感測器41作位移位置的確認。
該噴砂裝置50,是設置于該機臺10±,而位于該護罩20的容置空 間中,該噴砂裝置50具有一噴嘴51及一噴嘴調整軸52,該噴嘴51是可 以利用高壓將氧化鋁噴出作噴砂的動作,該噴嘴調整軸52是置設于該 容置裝置30治具31的前側,是由一模組化滑臺521、一光學尺522及一 伺服馬達523所組成,該噴嘴51是設置于該模組化滑臺521±,并利用 與該伺服馬達523的連接及驅動,而使該噴嘴51可于該模組化521中作 上、下的位移,并由該光學尺522對該噴嘴51作位移位置的確認。
一顯示裝置60,具有一顯示幕61及一運算處理器62,該顯示幕61 是設置于該機臺10外部,該運算處理器則與該各伺服馬達33、423、523 及該顯示幕61作電性連接,使可將該運算處理器62的數值顯現于顯示 幕中。
因此,上述即為本實用新型主要構成要件的介紹,接著再將其使 用方式介紹如下:
首先,當欲對一晶圓作噴砂的作業時即以噴砂的方式于晶圓上形 成貫穿孔時,首先將晶圓上預先形成的定位點對準治具上的定位點而 放置于該治具31±,接著由顯示裝置60中運算處理器62所預先設定的 程式,而使該容置裝置30的伺服馬達33將該治具31沿該治具調整軸32 而位移至該影像感測裝置40的對應位置上,再由該影像感測器41對該
晶圓的位置作檢測的動作,并將其檢測后的數據由運算處理器62與預 先設定的數值作相互的比對,如有誤差時,則利用驅動該容置裝置30
的伺服馬達33對該治具31的偏差作旋轉校正,爾后再利用影像調整軸
42對該影像感測器41作誤差的上、下位移,即利用該伺服馬達423對
5 該影像感測器41作于模組化滑臺421內的上、下位移調整并以光學尺
422對影像感測器41作位移位置的確認,再重新以影像感測器41對晶 圓的位置作檢測,如仍有誤差時,則再度以運算處理器62驅動該伺服
馬達33作治具31位置的校正,直至治具31的位置正確后,再由該運算 處理器62的控制,將該治具31沿該治具調整軸32位移至與該噴砂裝置
10 50相對應的位置上,此時,該噴嘴51的位置已由該運算處理器62依據 先前的誤差值,而對該噴嘴調整軸52作一適當的調整,即該運算處理
器62已將該噴嘴51所需位移的位置數據提供給光學尺522,使伺服馬 達523可在將噴嘴51于該模組化滑臺521內作位移時對該噴嘴51作最后
位置的確認,因此,此時治具31與噴嘴51間的相對位置已正確無誤, 15該噴嘴51即可于該晶圓上以連續噴出的方式形成預定位置的貫穿孔。




版權所有:北京金諾億洲科技開發有限公司 京ICP備19034252號-1
聯系地址:北京市朝陽區西直河工業區 電話:010-87335910
環保噴砂機生產廠家,供應商,報價,價格,哪家專業,哪家好